|
| |
|
Single Sphere Expansion Joint
SERIES SF-130 |

|

|
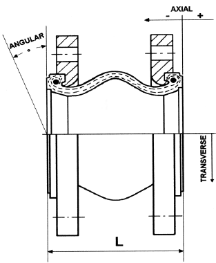
The shape of the bellows gives the expansion joint a higher flexibility and allows larger movements.
For all sizes the overall length is 130 mm.
|
The maximum allowable pressure must be adjust by one of the factors below at operating temperatures over 80°C.
| 85°C |
90°C |
95°C |
100°C |
105°C |
| 0,92 |
0,83 |
0,75 |
0,67 |
0,60 |
|
| |
|
* up to 80°C
Burst pressure:
Temperature: |
60 barg (1¼" - 8")
40 barg (10" - 12")
-10C° to 105C° |
| Allowable Movements |
| 1.Axial Compression
| |
2.Axial Elongation
| |
3.Transverse Movement |
|
4.Angular Deflection |
 |
 |
 |
 |
| Operation Condition |
| |
•Operating Pressure
•Burst Pressure
•Vacuum Rating
•Temperature
(1"~12")
16 kg/cm²
60 kg/cm²
650 mm/Hg
(14"~28")
8 kg/cm²
24 kg/cm² |
 |
Dimension (mm)
| Item |
Size
(In) |
L |
DØ |
FØ |
Allowable Movements |
| Axial |
Trans
Move |
Angular
Deflection |
| Comp |
Elong |
| AMS-101 |
1" |
95 |
25 |
50 |
8mm |
4mm |
8mm |
15° |
| AMS-101Q |
1-1/4" |
95 |
40 |
69 |
8 |
4 |
8 |
15° |
| AMS-101H |
1-1/2" |
95 |
40 |
60 |
8 |
5 |
8 |
15° |
| AMS-102 |
2" |
105 |
52 |
86 |
12 |
6 |
8 |
15° |
| AMS-102H |
2-1/2" |
115 |
68 |
106 |
12 |
6 |
10 |
15° |
| AMS-103 |
3" |
130 |
76 |
116 |
18 |
10 |
10 |
15° |
| AMS-104 |
4" |
135 |
103 |
150 |
18 |
10 |
12 |
15° |
| AMS-105 |
5" |
170 |
128 |
180 |
18 |
10 |
12 |
15° |
| AMS-106 |
6" |
180 |
152 |
209 |
25 |
14 |
12 |
15° |
| AMS-108 |
8" |
205 |
194 |
260 |
25 |
14 |
22 |
15° |
| AMS-110 |
10" |
240 |
250 |
320 |
25 |
14 |
22 |
15° |
| AMS-112 |
12" |
260 |
300 |
367 |
25 |
16 |
22 |
15° |
| AMS-114 |
14" |
265 |
320 |
408 |
25 |
16 |
22 |
15° |
| AMS-116 |
16" |
265 |
372 |
472 |
25 |
16 |
22 |
15° |
| AMS-118 |
18" |
265 |
415 |
522 |
25 |
16 |
22 |
15° |
| AMS-120 |
20" |
265 |
454 |
570 |
25 |
16 |
22 |
15° |
| AMS-124 |
24" |
254 |
580 |
690 |
19 |
13 |
19 |
15° |
| AMS-128 |
28" |
254 |
680 |
800 |
19 |
13 |
19 |
15° |
| Item |
Size
(In) |
L |
DØ |
FØ |
Allowable Movements |
| Axial |
Trans
Move |
Angular
Deflection |
| Comp |
Elong |
| AMS-201 |
1" |
6" |
25 |
50 |
1/2" |
3/8" |
1/2" |
15° |
| AMS-201Q |
1-1/4" |
6" |
40 |
69 |
1/2" |
3/8" |
1/2" |
15° |
| AMS-201H |
1-1/2" |
6" |
40 |
60 |
1/2" |
3/8" |
1/2" |
15° |
| AMS-202 |
2" |
6" |
52 |
86 |
1/2" |
3/8" |
1/2" |
15° |
| AMS-202H |
2-1/2" |
6" |
68 |
106 |
1/2" |
3/8" |
1/2" |
15° |
| AMS-203 |
3" |
6" |
76 |
116 |
1/2" |
3/8" |
1/2" |
15° |
| AMS-204 |
4" |
6" |
103 |
150 |
5/8" |
3/8" |
1/2" |
15° |
| AMS-205 |
5" |
6" |
128 |
180 |
5/8" |
3/8" |
1/2" |
15° |
| AMS-206 |
6" |
6" |
152 |
209 |
5/8" |
3/8" |
1/2" |
15° |
| AMS-208 |
8" |
6" |
194 |
260 |
5/8" |
3/8" |
1/2" |
15° |
| AMS-210 |
10" |
8" |
250 |
320 |
5/8" |
1/2" |
3/4" |
15° |
| AMS-212 |
12" |
8" |
300 |
367 |
3/4" |
1/2" |
3/4" |
15° |
| AMS-214 |
14" |
8" |
320 |
408 |
3/4" |
1/2" |
3/4" |
15° |
| AMS-216 |
16" |
8" |
372 |
472 |
3/4" |
1/2" |
3/4" |
15° |
| AMS-218 |
18" |
8" |
415 |
522 |
3/4" |
1/2" |
3/4" |
15° |
| AMS-220 |
20" |
8" |
454 |
570 |
3/4" |
1/2" |
3/4" |
15° |
| AMS-224 |
24" |
10" |
580 |
690 |
3/4" |
1/2" |
3/4" |
15° |
| AMS-228 |
28" |
10" |
680 |
800 |
3/4" |
1/2" |
3/4" |
15° |
| Item |
Size
(In) |
L |
DØ |
FØ |
Allowable Movements |
| Axial |
Trans
Move |
Angular
Deflection |
| Comp |
Elong |
| AMS-301 |
1" |
130 |
25 |
50 |
12 |
9 |
12 |
15° |
| AMS-301Q |
1-1/4" |
130 |
40 |
69 |
12 |
9 |
12 |
15° |
| AMS-301H |
1-1/2" |
130 |
40 |
60 |
12 |
9 |
12 |
15° |
| AMS-302 |
2" |
130 |
52 |
86 |
12 |
9 |
12 |
15° |
| AMS-302H |
2-1/2" |
130 |
68 |
106 |
12 |
9 |
12 |
15° |
| AMS-303 |
3" |
130 |
76 |
116 |
12 |
9 |
12 |
15° |
| AMS-304 |
4" |
130 |
103 |
150 |
14 |
9 |
14 |
15° |
| AMS-305 |
5" |
130 |
128 |
180 |
14 |
9 |
14 |
15° |
| AMS-306 |
6" |
130 |
152 |
209 |
14 |
9 |
14 |
15° |
| AMS-308 |
8" |
130 |
194 |
260 |
14 |
9 |
14 |
15° |
| AMS-310 |
10" |
130 |
250 |
320 |
14 |
9 |
14 |
15° |
| AMS-312 |
12" |
130 |
300 |
367 |
16 |
9 |
16 |
15° |
Main products:
Metal expansion joints
Rubber expansion joints
Single sphere rubber expansion joint
Twin sphere rubber expansion joint
Flexible stainless steel hose
PTFE expansion joints
PTFE expansions
Fabric rubber expansion joint
Rubber expansion joint reducer
Twin sphere connection with union
Rubber bellows expansion
FEP lining valves |
| |
|
| Pall ring | Tellerette ring | IMTP ring | Ceramic Alumina ball | PTFE expansion joint | Rubber expansion | Liquid distributor |
|